產品分類
Guang hui stoves center均化布料車(拋料機)
YZXLC型卸料車
四連桿自動調偏裝置
全自動液壓拉緊裝置
PYTQ型全自動液壓皮帶調正...
SZYL型膠帶自控液壓拉緊裝...
YYTP型全自動液壓調整裝置
電動電液推桿
電動推桿
電液動回轉器(電液頭)
電液動單(雙)側犁式卸料器
SLD(D、S)型緩沖鎖氣漏...
電液動三、四通分料器
DSZ型電液動平板閘門
DSZ型電液動扇形閘門
DEZ型電液動腭式閘門
ZWJ型往復式給料機
裝車閘門(電動簸箕式)
搖臺
阻車器
推車機
滾輪(罐耳)導向裝置
YCZ-56型電液動料流插板...
SZYL型膠帶自控液壓拉緊裝...
YYTP型全自動液壓調整裝置
LST型露天膠帶機脫排水裝置
SZJ型碎渣機
DDHJ-1F型電液動矩形單...
DXV-F(Y)型星形卸灰閥...
電動錐形雙層卸灰閥
電液動錐形層卸灰閥
電液動插板式雙層卸灰閥門
LB(Ⅰ、Ⅱ)-型單、雙層棒...
電動鎖風翻板閥
重錘式鎖風翻板閥
電動百葉閥(圓式、窗式)
電液動漿液閥
DDHJ-1F型電液動矩形單...
電液動蝶閥
電液動球閥
鑄鐵棒
輸送機觀察罩
PFCK破碎機系列組合件
輸送機觀察罩
加寬防雨罩
防雨罩
江蘇精智能液壓機械有限公司
全國咨詢熱線:
傳真:0514-84719609
郵箱:
地址:揚州市高郵湯莊工業區
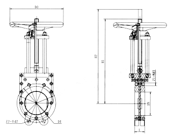
電液動漿液閥

產品詳情
漿液閥
我們銷售的新型手動、電液動漿液閥是在吸收和消化國內外先進閥體技術基礎上對閥體結構、密封形式、驅動裝置及電氣控制方面作了進一步更新。產品結構簡單、體積小、重量輕、流阻小、介質不易在閥體內沉淀,以及安裝方便等諸多優點,同時具備手動、電液動操作功能。電氣控制:行程開關控制、位置顯示儀控制,實現了機、電、液、儀一體化等多功能體系。
結構形式及特征
a、閥體結構形式及密封方式
我們銷售的漿液閥分對夾式和整體式,對夾式閥體密封采用復合材料配置的“U”型和“T”型復合結構。整體式閥體密封采用“O”型復合密封圈結構,克服了原對夾式漿液閥采用“U”型密封墊受力后易移位和變形,介質外泄等缺點。閘板采用刀形結構,解決了灰漿沉淀密封槽內,閥門關閉不嚴,外泄漏等問題。
b、驅動裝置分手動操作和電液動操作兩種
手動裝置:操作簡單,適用于力矩較小閥門。
電液動裝置:適用于力矩較大,力和速度可調,可任意任置鎖定的閥門裝置。
適用介質:
采礦、鋼鐵工業——用于煤漿、濾碴漿等。
凈化裝置——用于廢水、泥漿、污物及帶有懸浮物的澄清水。
造紙工業——用于任何濃度紙漿、料水混合物。
制糖工業——用于甜菜洗滌、糖漿、榨汁、果汁等。
食品工業——用于洗滌和沖洗設備,糧食輸送設備,麥芽漿等。
電站除灰——用于灰渣漿。
技術參數
型號
Z□73□-6 Z□73□-10 Z□73□-16
介質公稱壓力
0.6MPa 1.0MPa 1.6MPa
介質工作溫度
-20~28℃
材料
閥體:灰鑄鐵、球墨鑄鐵;閘板及閥桿;不銹鋼
手動漿液閥外型及連接尺寸

電液動漿液閥外型及連接尺寸
